
The Verge Flail Mowers are mulcher with hydraulic arm for clearing larger, wider areas, roadsides verges, orchards and green areas.
1.Fitted with a high power 50hp gear box;
2.Cutting height controlled by adjustable skids;
3.High strength mulching blades
4. Hammer blade
Standard Hammer Blade
Uses:
-The Verge Flail Mowers are flail mowers wuith hydraulic am for cleaning larger,wider
areas,roadsides verges,orchards and various inclining and declining land surfaces;
-Specially designed for universal use the head of the mower can be operate in line with
the tractor or offset for verge maintenance and field boundaries.
Light Verge Flail Mower/AGL Mower
Uses:
- The Verge Flail Mowers are flail mowers with hydraulic arm for clearing larger, wider areas, roadsides verges, orchards and various inclining and declining land surfaces;
- Specially designed for universal use the head of the mower can be operated in line with the tractor or offset for verge maintenance and field boundaries;
Features:
- The verge Mowers are suitable for roadside verge, tree trimming and general mulching;
- Hydraulic side adjustment;
- Hydraulic inclining adjustment;
- Rear roller wheel;
- High power 50hp gearbox;
- Self leveling;
- High strength mulching blades;
- Safety flaps;
- Extra strong and designed with safety in mind;
- Support legs for storage;
- Solid hitch.
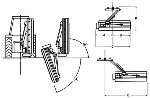
Verger flail mulchers are Super Heavy Duty Mowers designed with heavy cutting blades that can chop heavy brush including grasses, debris, sticks, vines, branches, and other wooded materials up to 2” in diameter. The mower head is attached to a hydraulic arm allowing you to swing the mulcher beyond your tractors wheels. The head may be pivoted hydraulically up to 90 degrees for hedge or hillside work or down 60 degrees for ditch or bank work. Connect it to our optional 4-way hydraulic control valve with a hydraulic float and the mulcher will follow the contours of the terrain.A flail mower doesn’t throw grass, instead it cuts finely and leaves the cuttings on the ground where it was cut making it an excellent choice for those places where you could cause damage by throwing debris. Highway mowing and park maintenance often use flail mowers because they are less likely to throw objects during cutting.
4.5” Diameter Rotor Shaft
Multiple Drive Belts Assure Power to the Blades
Under Deck Clump Busters
Standard 3-Pt Category I Hitch Mount
Shear Bolt PTO Shaft for Standard 1-3/8” 6-Spline PTO
Balanced Rotor and Shaft to Reduce Vibration & Reduce Bearing Wear
Powder Coat Paint Finish